content="18/11/2025″/> Buiten schroefmaat, Ø6.5 mm, 0.5mm, 225~250 mm

Buiten schroefmaat, Ø6.5 mm, 0.5mm, 225~250 mm

DIN 863 - gecoat rond beugel

Buiten schroefmaat,  Ø6.5 mm, 0.5mm, 225~250 mm
€ 103.00 67.00 *Prijzen zijn exclusief btw
Artikelcode304.417
0 ster(ren) met 0 review(s) Schrijf een review
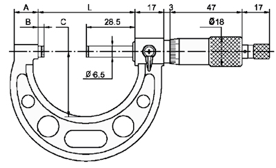
  • meetgebied: 225~250 mm
  • aflezing: 0.01 mm
  • 1 omwenteling van de trommel = 0.5 mm
  • hardmetalen meetvlakken: Ø 6.5 mm
  • nauwkeurigheid volgens DIN 863
  • mat verchroomde nonius
  • vaststelschroef
  • ratel
  • gelakte rond beugel
  • geleverd in doos met aanpassingssleutel en instelmaat 225 mm
  • afmetingen: A=19.4, B=5.5, C=142, L=260 mm
  • gewicht: 1.00 kg
Optie & accessoire
  • kalibratiecertificaat  VDI/VDE/DGQ 2618 door een labo DAkkS
Ontvang de juiste deals voor uw locatie; Selecteer uw land